Direct versus indirect routing
There are two types of routing:
direct-
When a machine can send an IP packet to another machine without
going through a third machine, the route the packet will travel
is said to be a ``direct route'' and the selection of that route
is called ``direct routing''.
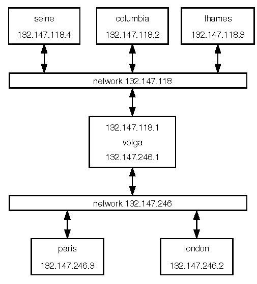
In
``Example internetwork'',
the machine columbia can trace a direct route to any of the
machines on the 10.0.118 network (that is, seine, thames,
and volga). The machine columbia cannot
reach london or paris directly.

Example internetwork
indirect-
When a machine wishing to send an IP packet to a second machine must
send that packet through a third machine,
the route the packet will travel
is said to be an ``indirect route'' and the selection of the intermediary
machine is called ``indirect routing''.
The intermediary machine, a router, has connections to more than one
network and is said to provide a gateway between the networks.
Therefore, a router may also be called a ``network gateway''.
In
``Example internetwork'',
the machine volga is a network gateway between
the 10.0.118 network and
the 10.0.246 network.
If the machine seine needs to send an IP packet to
paris, it must
send the packet to volga, which forwards the packet
to paris.
Sometimes the source and destination hosts are more than
one network away from each other.
Next topic:
Routing table description
Previous topic:
How routing works
© 2003 Caldera International, Inc. All rights reserved.
SCO OpenServer Release 5.0.7 -- 11 February 2003